
SONY在遊戲設計上經常提出全新專利,且勤於以「想法」申請獨佔,例如今年4月曝光的「玩樂機器人」,以一個實際的玩偶陪玩,增加物理接觸培養「好感度」增加「互動」,在實體與虛擬中共存,儘管尚未開發具體商品,但根據過往AIBO狗狗等研發,能略看出SONY在「硬體」與「互動」的企圖。


回到SONY近期備受矚目的PS5主機消息,除了玩家哏圖外,更有市場數據先跑的價格猜測,或是稍早的PS4兼容4000款遊戲設計等—

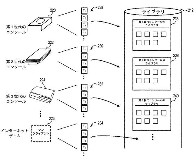
而近期的SONY專利也被放大檢視,推主れんか (@Renka_schedule )以「雲端遊戲資料庫」為主題討論,在官方流出的訊息中透露「目前該產業的趨勢將以『雲端遊戲系統』開發為基準」,根據圖示內容,編號212內容透過雲端儲存技術將「PS1、PS2、PS3」貫通,並以模擬器方式運行,這個專利確保了向下兼容的功能,和PS5晶片等硬體設置無關。

而另一項專利技術著重於「互動」,玩家能夠以雲端連線分享自己暢玩的畫面,而這個方式將會因為平台功能改變社群,廣延上能攻略討論、即時分享、更方便的剪輯精華等,PS5的某些按鈕記號同時暗示該功能。


在網路商城的「體驗試玩」也將因為這個雲端升級而有所不同,因為試玩版數據將同時被記錄於網路,正意味著「體驗」與「實際購買」的資料接續,當然玩家的喜好也會以大數據回收處理,且更為優化。

至於PS5到底能不能玩到PS1的遊戲內容,或是實際價格如何、還有什麼驚喜......官方近期不僅沒有透露,更在媒體GameSpark訪問時,SONY回應了「無可奉告」的發言極為曖昧—等子彈飛一會兒,粉絲還有的苦等呢。
北宮 愛