
自2024年9月19日,寶可夢公司、任天堂正式聯手向今年上半年火紅全球的「縫合怪」爭議電玩《幻獸帕魯》(Palworld),以「專利侵權」向開發商Pocket Pair提出告訴後,被告也於今日在Twitter(現稱X)上首度公開來自任天堂的訴訟文件。
從訴訟文件內容中,作為原告的任天堂不僅明確提及《幻獸帕魯》因侵害三項專利,除了要求分別支付給寶可夢公司、任天堂500萬日圓的賠償金之外,並要求禁止該款遊戲的銷售。

而原告所指出的這三項專利,分別是:
於2024年7月30日申請、2024年8月27日完成註冊的「專利第7545191號」
於2024年2月26日申請、2024年5月22日完成註冊的「專利第7493117號」
於2024年3月5日申請、2024年7月26日完成註冊的「專利第7528390號」
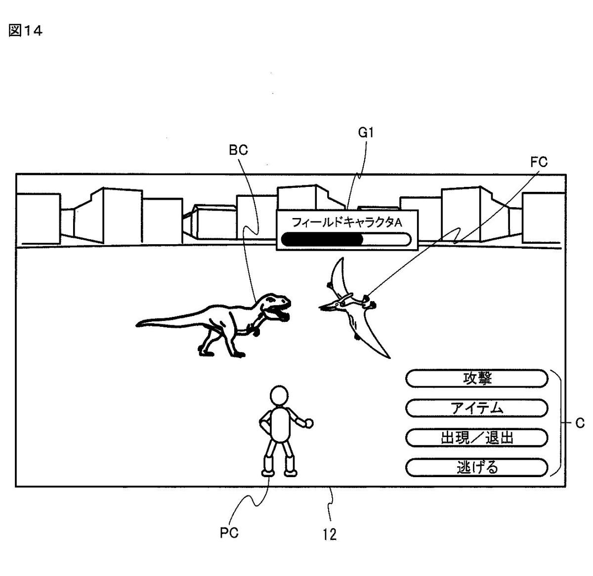
這三項專利內容,在日本知識財產權官網「j-platpat」也有詳細記載。首先是2024年8月27日完成註冊的「專利第7545191號」,根據j-platpat記錄說明,這是以操作「捕捉角色/怪獸」系統指令為主的一項專利權,當中涉及到包含:捕獲與戰鬥操作、瞄準與方向輸入、捕獲與戰鬥結果判定、目標指示與捕獲成功率,以及場景互動等要素,在附圖中更是明確詳述了操作系統與動作指示。



而2024年5月22日完成註冊的「專利第7493117號」,則可以看做是「專利第7545191號」的衍生,進一步針對:捕捉機制、戰鬥模式切換、成功率判定指標、操作輸入的多項指示、角色狀態與捕捉成功率的判定機制、遊戲視覺標誌的指示等,有更詳細的系統陳述。



至於2024年7月26日完成註冊的「專利第7528390號」,則有別於上述針對捕捉機制、戰鬥系統,是著重在遊戲裡「騎乘、控制角色/怪獸」與「搭乘系統」等相關技術,而這項載具搭乘機制上大致上的核心方向包含了:角色控制系統、搭乘機制、傷害機制,以及連接「專利第7545191號」、「專利第7493117號」兩項專利的捕獲系統,也就是當玩家騎乘角色時,進行捕獲動作的衍生指令。


只是,於這三項專利均是在《幻獸帕魯》上市後,任天堂才開始提交專利申請,因此有不少擁護派認為,這是任天堂為了確保在未來可能的訴訟中勝訴、並進一步保護《寶可夢》IP的策略,且這樣的做法更被批評為是「先射箭再畫靶」,選擇在遊戲發行後,才反過來藉由專利來保護自己的智慧產權,讓擁護派引起不滿,認為這是一種不公平且帶有侵略性,企圖毀滅《幻獸帕魯》的手段。
當然,由於《幻獸帕魯》與任天堂之間的專利訴訟尚未有最終裁定,所有相關的過程與結果仍需等待當地法院的判決,才能得知更進一步的發展與具體內容。
Min-El